山西高义钢铁有限公司
  • 新闻
    • 行业新闻
    • 高义新闻
  • 公告
  • 党建
  • 电商
    • 资料下载
      • 组态软件
      • 编程软件
      • 技术资料
  • 公司介绍
    • 关于我们
    • 联系我们
    • 企业资质

公告

首页 > 公告
03/03 2026
By 山西高义钢铁有限公司

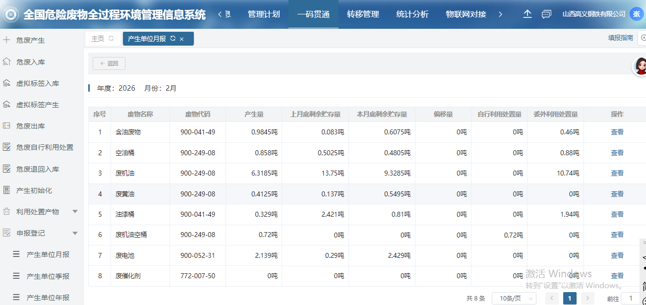
2026年2月山西高义钢铁有限公司危险废物产生情况公开信息


最近更新

公司召开特种设备组织架构成立及工作实施推进会

2023/12/08 11:49:00

运城市市场监管局调研组来公司开展专项调研

2023/12/10 11:50:24

从中央政治局会议看2024年中国经济工作新动向

2023/12/09 15:17:18

© Copyright 2023 山西高义钢铁有限公司. All Rights Reserved.[ 晋ICP备13005610号-3 ]  [公安联网备案号:14082502000091]